5.1 資產管理
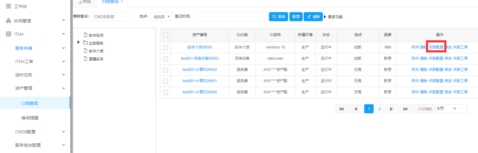
5.4.1 CI信息項
新建ci配置,如下圖,新建時需要選擇配置的分類,該分類是在cmdb配置分類里提前建好的,選擇確定,然后進行信息填寫。
附件:Ci項中,可以通過附件按鈕,上傳附件。(類似于設備設置文檔,發票,采購合同等)

關聯工單:通過事件流程或變更流程關聯設備信息,可以在設備中看到關聯工單。

設置好Ci信息項后可以通過關系配置來設計包含關系,并形成拓撲圖。

頁面上標有系統產生字樣的,代表提交之后自動生成字段值,填寫信息之后點擊保存。

5.4.2 維保提醒
手動輸入模糊查詢,也可以按條件配置分類、地點、過保時間查詢CI項信息,快過保的記錄會提前發通知給維護人。

5.2 CMDB配置
5.5.1 關系管理
CMDB 中配置配置項關聯關系,含六對關系以及相應的描述,并可對不同關系設置不同顏色用于拓撲圖 線條展示,也可以新增關系。

5.5.2 配置分類
CMDB 中配置分類是用于管理配置分類類別的,另可在配置分類處設置配置編碼規則、分類與表的一對一關聯、展示拓撲圖小圖標設置。
新增分類
點擊新增 按鈕,進入新增界面填寫序列號、類型、名稱、對應數據庫表、 拓補圖、描述填寫完成點擊 完成

序列號:對樹型節點排序使用。
類型:CMDB 配置編號生成規則組合字母。
對應數據庫表;設計中數據庫表名。
拓撲圖:用于拓撲展示該分類的圖標展示,建議使用 50*50 小圖標。
5.5.3 數據庫設計
CMDB 數據庫設計用于對 CMDB 模型建立,內含對數據庫表的創建、修改、選擇模型類 型、綁定數據字段等功能,靈活定制模型,零開發完成模型改變,適應業務發展。
a.創建數據庫
進入數據庫設計頁面,點擊創建表單按鈕,進入數據庫設計界面。

數據庫設計頁面主要分為三大塊功能,分別為數據庫屬性、頁面屬性、字典屬性。
數據庫屬性:用于對數據庫字典的增刪改,包含字段名稱、備注、類型、字典長度及是否允 許為空關鍵信息。內置 ID、CMDBID 兩個必要的主鍵,這兩主鍵只允許查看,不能編輯刪除。

頁面屬性:定義字段信息的控件類型,內置有文本框、密碼、單選框、多選、日期、文件、 多行文本、大文本 text、圖片、UE 編輯器,根據控件長度,可控制控件輸入的長度限制,提 示文本可默認展示內容。

字典屬性:字典屬性用于對單選框、多選框、下拉框選擇型控件定義選擇內容,也可對填寫 內容進行校驗,內置校驗有非空、數字、字母、郵政編碼、手機號碼、電子郵件、網址、字符、數字、字符串長度。最后根據信息填寫完成后點擊保存,完成數據庫設計。


b.同步數據庫
創建完成數據庫后,返回數據庫表列表中會看見新增的數據或當前修改過的數據,狀態變化為“未同步”

選中需要同步的數據庫表,點擊同步數據庫按鈕進行同步。系統將提示是 否繼續,且同步方式分為“普通同步”和“強制同步”。普通同步是改動信息較小,SQL 語 句支撐的情況下進行,會將修改表結構同步到數據庫;強制同步是會將當前數據庫表數據進 行完全刪除,再重新建立新的數據庫表結構。請謹慎選擇“強制同步”,推薦使用普通同步。

同步后數據庫狀態變為已同步。
c.編輯表單
編輯表單是在已有數據庫表中進行修改,選擇需要編輯的行點擊編輯表單按 鈕。編輯完成后,數據庫狀態會變為未同步,再進行數據庫同步操作完成編輯表單。



d.其他說明
? 當數據庫字段總數大于 10 時,展示在 CMDB 頁面將以兩列展示,反之以一列展示。
? 若無必要情況,盡量使用 String 類型字段,String 字段類型也可替代 int、date 類型。
? CMDB 模型建立的特殊表,為了更好區分表名,建議以“CMDB_T_”命名開頭。
? 禁止使用數據庫關鍵字為數據庫字段名稱。如:int、status 等 SQL 關鍵字。
